• Nouveau
  • Article non disponible

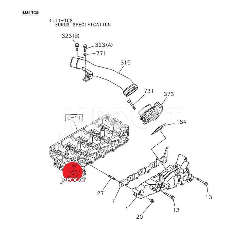
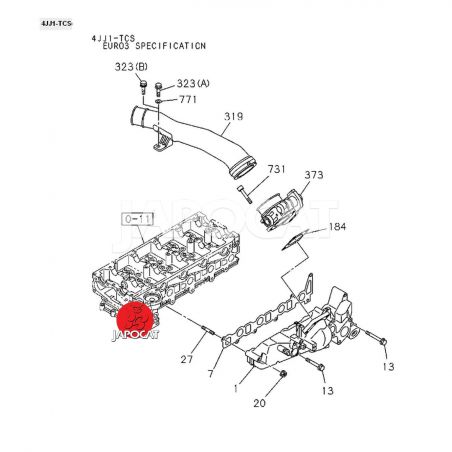
Injection - boîtier papillon [Origine Constructeur]

Prix public
739,94 €
HT

Pour commander cet article merci de vous identifier

Pièce sur schéma n° : 373

Applications possibles

ISUZU

Modèle Version Années Moteur Type Utilisation
D-Max 4WD (Euro 4) 2007 à 2012 2,5TD 136ch TFS86 De 01/2007 à 06/2012 4JK1-TC TFS86
D-Max 4WD (Euro 4) 2007 à 2012 3,0TD 163ch TFS85 De 01/2007 à 06/2012 4JJ1-TC TFS85